Серия HBT305D (300 кН)
Машина для испытаний арматуры на изгиб и повторный изгиб
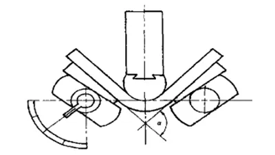
Вертикальная испытательная машина серии HBT305D (300 кН) предназначена для испытаний на изгиб и повторный изгиб различных металлических материалов, включая прутки, трубы, листы, материалы с многоугольным сечением и строительную рифленую арматуру. Поддерживает изгиб на 180°, повторный изгиб и изгиб труб на 90° с усилием до 300 кН.
Стандарты
GB/T 232, GB/T 244, GB/T 3091, GB/T 8162, GB/T 13793, GB/T 28897, ISO 7438, ISO 8491, ISO 559, ISO 6935, BS 4449, BS 4482, BS EN 10080, DIN488-2, SS 212540, ASTM A775, ASTM A706
Запросить расценки
Технические характеристики
| Макс. усилие нагрузки, кН | 300 |
| Макс. вертикальный ход поршня, мм | 500 |
| Скорость перемещения поршня по вертикали без образца, мм/мин | 0.5-4 |
| Диаметр опорного ролика, мм | 45 |
| Расстояние между опорами, мм | 10-630 |
| Диаметр оправки (пуансона), мм | В соответствии со стандартами испытаний |
| Диаметр круглых образцов, мм | ⌀6-⌀50 |
| Толщина и ширина плоского образца, мм | (6-40)×50 |
| Макс. угол изгиба, ° | 180 |
| Электропитание | 380В, 50Гц, 3-фазное |
| Потребляемая мощность, кВт | 5.5 |
| Габариты машины (Д×Ш×В), мм | 1470×735×2390 |
| Вес машины, кг | 1700 |
| Габариты гидростанции (Д×Ш×В), мм | 500×880×990 |
| Вес гидростанции, кг | 250 |
| Гидравлическое масло | Противоизносное гидравлическое масло ISO VG 46, 90 л |
Процесс испытаний
Испытание арматуры на изгиб на 180°
Шаг 1: Установка образца
Шаг 2: Начало изгиба
Шаг 3: Возврат пуансона
Шаг 4: Изгиб до 180°
Шаг 1: Изгиб до 90°
Шаг 2: Повторный изгиб до 20°
Мы также предоставляем широкий спектр аксессуаров для всех типов оборудования для механических испытаний.






